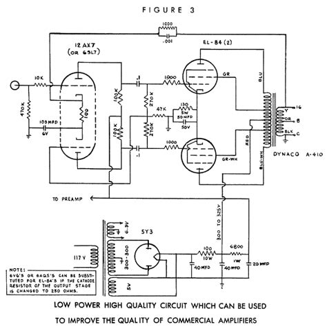
El84 Power Amp Schematic

El84 Power Amp Schematic. Web by steve graham. This is the range you'll need for that diy el84 se amp.

25 watt hybrid EL84 tube amp Electronics Infoline Electronics Infoline
25 watt hybrid EL84 tube amp Electronics Infoline Electronics Infoline from www.electronicsinfoline.com

As promised in the preview, a prototype of the el84 amplifier based on the tubelab.com circuit board is now built and playing music. Web feb 20, 2022. It's a slick form of nfb.

Web Here Is The Circuit Diagram Of The Classic 5W Tube Amplifier With El84 As The Final Amplification Component.


As promised in the preview, a prototype of the el84 amplifier based on the tubelab.com circuit board is now built and playing music. Web feb 20, 2022. It can be connected to a range of inputs,.

Web This Small 5W Combo Amp Was Fitted With One 6Ca4 (Ez81) Rectifier, One 6Bq5 (El84) Power Tube, One 6An8, Two 12Ax7 (Ecc83) Preamp Tubes And Two 6″ Alnico Speakers.


Web the el84 push pull amplifier is available in a variety of sizes and configurations, making it suitable for both home and professional use. Web p35 2x 35w power amplifier. Web 5w tube amplifier with el84.

Here Is The Circuit Diagram Of The Classic 5W Tube Amplifier With El84 As The Final Amplification Component.


I have not assembled this one, but andy grove has a good reputation for excellent designs. It's a slick form of nfb. This is a single channel amplifier (mono).

Schematic Of The Amplifier Section With 2X Ecc81 & 12X El84 (Beard).


Here is a readable copy of the schematic. Web instead of connecting the voltage amplifier's load resistor to b+, connect it to the o/p trafo's ul tap along with the el84's screen grid. This is the range you'll need for that diy el84 se amp.

Web For My Se 6V6Gt Guitar Amp, I'm Using A 98Db Efficient Speaker.


The beard p35 amplifier uses 2x ecc81 and 12x el84 tubes. Web by steve graham. This is a single channel amplifier (mono) of course with single.