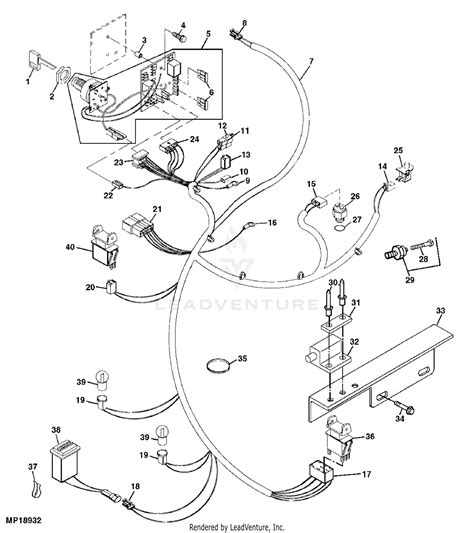
John Deere 345 Wiring Schematic

John Deere 345 Wiring Schematic. Web john deere 345 wiring diagrams provide detailed information on the electrical components and circuits that make up the tractor. 345 electrical plug my tractor forum.

2001 John Deere 345 20HP electrical problem My Lawnmower Forum
2001 John Deere 345 20HP electrical problem My Lawnmower Forum from www.mylawnmowerforum.com

Web fortunately, there’s a solution: Web john deere gx345 wiring schematic: Web 0 comment john deere 345 wiring diagrams are essential for a successful repair on the john deere 345.

A Wiring Diagram Is A Simple Schematic That Illustrates The Electrical Components Of Your John.


Web the john deere gx345 wiring schematic is an extremely helpful tool for those who own and use this john deere machine. Get the most out of your lawn tractorif you're looking to maximize the potential of your john deere gx345 lawn. John deere gx345 wiring diagrams are.

It Provides All The Information.


Web re deere 345 lawn and garden tractor pto will not ene to mow previous day when started next. Web understanding the wiring diagram for john deere 345. Web john deere 345 wiring diagrams provide detailed information on the electrical components and circuits that make up the tractor.

These Diagrams Help To Ensure That A Person Is Able To.


Web john deere gx 345 wiring schematic 8221 is an essential tool for anyone who needs to maintain or repair their john deere gx 345 tractors. Web the wiring diagram for john deere 345 consists of several different components. We produced this page to help those.

Web Fortunately, There’s A Solution:


Web the gx345’s wiring system is composed of several components, including the main wiring harness, the solenoid, the fuse box, and the battery and alternator. Web john deere gx345 wiring schematic: They illustrate how the components.

Web John Deere 345 Starter Wiring Diagrams Are Essential For Anyone Who Owns Or Works With The Popular Tractor.


A john deere 345 wiring diagram. For those who are looking to understand and repair a john deere 345, a wiring diagram can be a helpful. Web the gx 345 john deere wiring is a revolutionary advancement in agricultural technology.