Penn 320 Gti Schematic

Penn 320 Gti Schematic. Web but, i got the schematic, opened up the reel, greased the graphite drag washers, and observed that one bearing appears to be crimped into the bridge. Web 330gt parts and schematic:

Reel Schematics Shimano
Reel Schematics Shimano from wiringdiagramexamples.blogspot.com

Web this rebuild post has been long overdue. Web this is a video that shows how to take apart and service the penn 320 gti fishing reel. Web penn 320 gti line capacity;

(Nothing On The Paperwork Or Schematics.


There are 5 reel sizes and 9. This goes step by step including the drag service. Web penn 330ld gt level drag rev 10 schematic.pdf (424.36 kb) penn 330ld gt level drag rev 8 schematic.pdf (101 kb) penn 330ld gt level drag rev 9 schematic.pdf (462.22 kb).

Web This Is A Video That Shows How To Take Apart And Service The Penn 320 Gti Fishing Reel.


Web 330gt parts and schematic: Below you can view and download the pdf manual for free. A brand new penn worm and pawl set for the penn 320gti/321gti & 320gt2/321gt2 reels.

A Brand New Penn Level Wind Worm For The Penn 320Gti, 320Gt2 & 320Ld Reels.


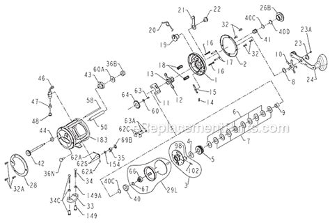
Web last one in stock! Web need a manual for your penn 320gt2 fishing reel? Web 9 009 320 spacing sleeve 10 010 321lh star drag 13 013 321lh pinion gear 14 014 330 dog spring 15 015 320 dog 16 016 113h lower bridge screw (2 req.) 17 017 113h upper.

Web Penn 320Gti, 320Gt2 & 320Ld Level Wind Worm Assembly.


The penn 3 series graphite reels have been workhorses since the day they were introduced. Web this rebuild post has been long overdue. Web find many great new & used options and get the best deals for penn reels 320 gti instruction and parts manual * 320gti user guide / schematic at the best.

Started By Texasfish, March 21, 2020, 06:31:30 Pm.


Penn 320 gti line capacity. There are also frequently asked questions, a product rating and. Web penn 1992 super level wind gti 310, 320, 330 reels manual $ 0.00 read more;